摘 要:概述当前T梁架设主要采用哪些方法,介绍龙门吊在小半径曲线轨道上架设T梁所遇到的技术难题,通过理论分析提出解决龙门吊曲线行走存在哪些措施或办法。举用工程实例验证在小半径轨道上采用龙门吊架设T梁是可行的。
关键词:龙门吊;T梁;平曲线;行走轮
0.前言
在国内外高速公路或城市桥梁建设中,由于现场条件局限,桥梁下部结构施工的不连续、以及设计独特等其他因素,T梁施工安装可采用多种方法。主要有:架桥机架梁、汽车吊架梁、履带吊架梁、龙门吊架梁、龙门吊与架桥机配合架梁等工艺方式。现实生产选择何种架梁方案,主要根据在建工程实际情况结合经济可行性考虑。本文除对T梁架设几种常规施工方法加以总结比较外(见表1),重点详述小半径曲线轨道龙门吊架设T梁的施工方法,以供同类工程参考应用。
表1. T梁架设常用施工方法
施工项目 施工方法 适用条件 施工特点 T梁架设 汽车吊或履带吊架梁 T梁安装数量较少或桥面施工不连续,地面状况较好,桥面高度相对汽车吊或履带吊施工活动范围合理 施工灵活、作业场地质量要求较高,软基地面需作换填或加垫钢板处理 架桥机架梁 T梁运送方便、桥面施工连续、T梁安装数量较大;T梁施工跨铁路、河流等障碍物地面状况差或桥面相对高度较大 施工对桥底地面状况要求较低,且干扰不大,常用于高空连续作业 龙门吊架梁 地面路况良好,线路平顺纵坡小,桥面相对高度合理(一般≤30m) 高架桥分段施工,运梁平车很难送梁至桥面,架桥机难以充分发挥作用时选择该方法 龙门吊与架桥机联合架梁 运梁平车无法将T梁运送至架桥机位置,而待架跨地面要求交通无阻碍 兼有两者合用施工优缺点,施工成本较高
1.曲线行走存在的问题
在桥梁施工中,对于大吨位预制梁一般采用架桥机或龙门吊抬举的方式进行架设。由于架桥机拼装灵活,且适用于曲线桥型,公路梁场一般采用架桥机架梁。而对于龙门吊,不但是大型梁板预制场必备的常规设备,而且在旱地高架桥梁安装中扮演着重要角色,它的安全稳妥、操作简单、经济实用诸优势非其他梁板安装起重设备所能及。然而这种优势往往只能在直线或大半径曲线桥梁上有所体现,在小半径曲线桥梁板安装中似乎没有用武之地。但在某些情况下,因施工场地、机械条件所限,梁场设计只能采用小半径曲线龙门吊架梁时,这样的龙门吊能不能完成这一施工任务?答案是肯定的。但是必须事先克服曲线龙门吊行走由于内外侧行走轮不同步而有可能造成龙门吊倾覆或掉轮现象。下面就这一情况谈谈我在施工中的实践经验和体会。
2.曲线行走理论分析
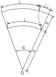
龙门吊在架梁过程中,两个门腿行走系统电机的功率及型号一般都是相同的,只有这样龙门吊的两个门腿行走系统才能保证步调一致,具有相同的行走速度。曲线行走的龙门吊由于存在内外侧轨道半径差,如果行走相同的距离(即弧长L),内外侧门腿所对应的平曲线夹角α并不相等,存在一个Δα差值(如图a)所示。龙门吊曲线行走时,两个门腿理应同时对同一平曲线圆心作匀速运动,也即是两个门腿必须具有相同的角速度ω,常理下这种情况是不可能发生的。换句话说要使两个门腿在相等的时间T内走过的距离(弧长)所对应的圆心角α相等,必须缩小内外门腿所走过的距离(弧长)存在的步差ΔL(如图b)。
.png)
.png)
图.a 图.b
注:O—平曲线圆心;R—平曲线半径;B—龙门吊跨度;L—弧长;α—对应的圆心角;△α—圆心角差值;△L—弧长差值(步差)
3.曲线行走解决办法
3.1调整内外侧行走轮步差
通过进一步深入研究,给龙门吊外门腿补偿步差ΔL,即可解决内外侧行走轮在同一同心圆上,其方法有如下两种:
(1)通过计算确定ΔL的具体值,然后设法将龙门吊内门腿行走轮周长去掉一个ΔL值或者将外门腿行走轮周长增加一个ΔL值,即可保证两个门腿具有相同的角速度ω;也可以通过改变行走轮与行走电机传动齿轮直径大小取得同样的效果。
(2)在龙门吊操作室给内门腿行走电机增设一个控制开关,龙门吊行走一段距离后暂停一下,通过增设开关让内门腿停止行走,点动外侧门腿缩小步差ΔL,然后再让两门腿一起行走,如此反复进行,直到T梁架设完毕。
通过实验结合龙门吊行走安全发现当平曲线半径较小时采用第一种方法较理想,第二种方法操作起来施工进度较慢。
3.2合理设置轨道
小半径曲线龙门吊在运行时会对外侧轨道产生较大的横向力,从而造成轨道移位或扭曲变形,对比直线运动,曲线运动的龙门吊对轨道系统提出了更高施工要求。
(1)参考铁路圆曲线超高设置原理,根据龙门吊通过曲线时实际运行速度,求算合理的平均速度值,并据此计算出曲线外轨理论超高值;然后通过理论检算和现场实地测量分析,设置合理超高值。
(2)根据测量放线调整轨道的圆顺度确保龙门吊安装时内外侧轨道间距与龙门吊跨度一致。加强对钢轨接头的定位控制,保证接头处轨缝牢固、平顺、无磨轨现象。
(3)此外,轨道安装实际中心线对轨道设计中心线的位移控制在≤2mm;钢轨正面、侧面的不平度≤1/1500,钢轨保持与地面垂直。
(4)在轨道上设置沉降观测点,定期观测轨道的运行变化。
4.应用实例
Utonde大桥东西引桥采用的是30m装配式预应力混凝土连续T梁,施工方法为先简支后连续。标段内红树林,沼泽地较多,换填方量大。为节约成本,梁场设置在路基填方路段,龙门行走轨道基础采用钢管桩与型钢相结合的形式进行搭设,钢管与型钢结合部采用加焊牛腿、斜撑进行固定。由于龙门吊跨径仅有21m,而Utonde大桥东西引桥又设计为曲线桥梁,为使布置的轨道线纵跨整个引桥且达到架梁目的,这就造成了T梁架设时龙门吊行走在曲线半径较小的轨道上。整个轨道内侧半径R内为588.54m,外侧半径R外为609.54m。如下图c为Utonde大桥东引桥梁场规划图,图d为Utonde大桥东引桥T梁架设施工图。
.png)
图c. 东引桥梁场规划图

图d. 东引桥T梁架设施工图
该桥30m预制T梁设计最大梁重80T(边梁),提梁采用2台60T轨道式龙门吊抬举。设计龙门吊跨径21m,净空16 m,满足最高墩柱架梁需要。由于梁场设计轨道为小半径曲线,龙门吊运行时两侧行走轮不同步,且外侧轨道受力较大,极易发生移位、扭曲变形,甚至造成侧翻事故。为保证行驶安全,龙门吊两侧行走轮必须保持同心圆行走,也就是说需要调整龙门吊两侧的行走速度,以缩小内外门腿所走过的距离(弧长)存在的步差ΔL,从而保持其同心运行。在Utonde大桥引桥施工中我们是根据龙门内外侧轨道半径之差,结合龙门吊架梁时的行走速度(为确保安全,提梁行走速度控制在8m/min左右),计算出内外侧行走轮之间如果要保持同心运动所需要的速度差,对内侧行走轮进行打磨改小半径处理(如图e)。此外适当加固措施以避免龙门吊运行时轨道发生位移、变形,并合理设置超高(本桥龙门外侧轨道比内侧高2cm)。总之,要想达到龙门吊顺利架梁的目的,必须根据轨道半径及龙门吊运行速度来确定龙门吊行走设备的改装和技术参数的调整,同时解决轨道位移问题。

图e. 内侧行走轮打磨前后对照图
如下为该桥龙门吊在曲线保持同心圆运行时内外侧行走轮半径差值的计算过程:

 (.png) 表示龙门吊外侧行走轮半径;
表示龙门吊外侧行走轮半径;.png) 表示龙门吊内侧行走轮半径;表示龙门吊外侧行走轮单程运行圈数;表示龙门吊内侧行走轮单程运行圈数;R表示外侧轨道半径;r表示内侧轨道半径;表示龙门吊行走起点至终点所在同心圆圆心角;n表示龙门吊匀速行走单程运行圈数;v表示龙门吊匀速行走速度:v=10m/min ;t表示龙门吊匀速行走单程所需时间
表示龙门吊内侧行走轮半径;表示龙门吊外侧行走轮单程运行圈数;表示龙门吊内侧行走轮单程运行圈数;R表示外侧轨道半径;r表示内侧轨道半径;表示龙门吊行走起点至终点所在同心圆圆心角;n表示龙门吊匀速行走单程运行圈数;v表示龙门吊匀速行走速度:v=10m/min ;t表示龙门吊匀速行走单程所需时间.png) 。)
。)
5.结束语
实践证明,只要通过技术改造和采取合理的施工管理措施,在小半径曲线段采用轨道式龙门吊架梁是可行的。由于诸多因素,龙门吊在曲线轨道行走的确存在一定的安全隐患,但主要行走系统设计得当,施工措施落实到位,小半径曲线龙门架设T梁值得推广。
参考文献
[1] 张质文、王金诺等.起重机设计手册 [M].北京:中国铁道出版社,2013
[2] 胡安详、周忠胜.曲线桥T梁的预制与安装[J].中国港湾建设,2004,(01):26~28.
[3] 张富贵等.小半径曲线桥T梁的预制与安装[J].云南现代交通,2005,02(06):61~63.
论文作者:谭观确
论文发表刊物:《基层建设》2016年18期
论文发表时间:2016/11/23
标签:龙门吊论文; 曲线论文; 半径论文; 轨道论文; 引桥论文; 吊架论文; 龙门论文; 《基层建设》2016年18期论文;
