摘要:为适应新时代新形势的发展要求,电网建设工程规模逐步扩大,数量不断增加,工期日趋紧张,这对工程建设的质量、安全提出了更高的要求。工程验收是工程质量保证的关键环节,直接关系着电网工程能否实现安全、优质、零缺陷投产。本文通过对电网建设工程质量验收工作现状和问题进行分析,结合工作实践和国内优秀经验,编制验收记录卡,应用二维码技术,完善复查流程,制定了一系列改进做法,有助于提高工程验收管理水平和工程实体质量,也提高了验收工作的标准化和规范化水平。
关键词:电网建设;质量验收;标准化;工程质量;二维码
引言
电网建设关系着整个国家的电力系统,维系着人们的用电生活和社会生产的运转,电网建设工程的质量是保证工程安全可靠的本质需要,重要性不言而喻。质量验收是质量管理的重要环节,关乎到电网工程是否能够正常投入使用并为企业和社会创造出一定的效能[1]。国网公司常态化开展优质工程评定工作,对工程质量的要求很高,质量验收工作作为保障工程质量的严密防线,必须更加重视其科学性和规范性,不断加强质量检查与验收工作,才能确保工程质量,实现“零缺陷”投运和优质工程创建。
1质量验收现状分析
在工程建设过程中质量问题仍然比较突出,严重影响了工程质量和管理水平的进一步提高。由于施工、监理、业主等各级管理人员“质量第一”意识不强,对质量管理工作的精力和重视程度不足,质量验收工作出现流于形式,验收不严格、不全面的问题时有发生;验收报告等资料填写不规范、验收消缺未能完全闭环等问题屡见不鲜;质量问题整改复查也是问题重重,往往只是对整改回复文件审查,弱化了现场复查。
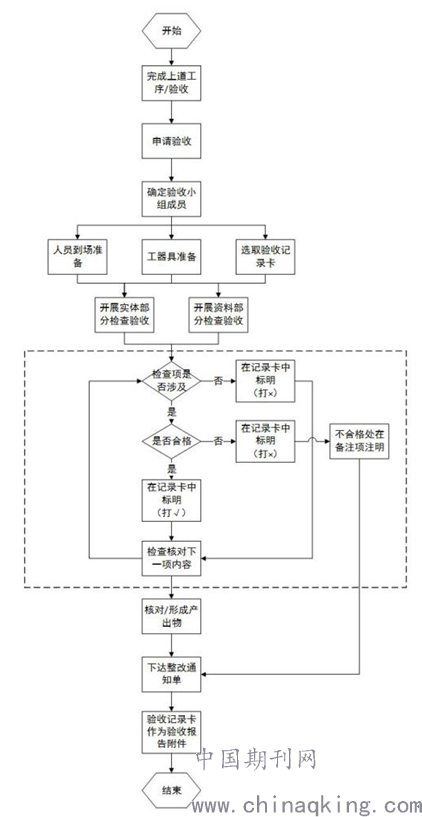
.png)
图2.1电网建设工程验收记录卡使用流程图
在以往的基建工程验收过程中,验收人员往往凭借经验验收比较随意,很可能会造成验收失误[2],使验收内容不全面检查不彻底;并且验收标准规范非常广泛且笼统,并没有详细明确全面的验收清单,使验收时针对性不强,与个人水平密切相关,稍有不慎就会产生缺项、漏项等问题。
2质量验收改进措施
2.1编制验收记录卡,形成标准化工作手册
为了形成详细的明确的验收清单,我们针对变电站工程、架空线路工程、输电线路工程三大类工程,对施工三级自检、监理初检、业主中间验收各验收主体的不同阶段,分别详细梳理国标行标企标、工程建设标准强制性条文、标准工艺、质量通病防治工作规定、优质工程评定标准等规范,形成了各阶段质量验收记录卡。每张记录卡包括开展时间、责任主体、检查要求、实体检查要点、资料检查要点、产出物和备注,对筛选的每一条款是否涉及、是否合格都需要进行比对检查,使验收更加方便、全面,供各级验收人员在相应验收阶段使用。验收记录卡使用流程,详见下图2.1。
在验收记录卡基础上,梳理各主要验收依据及标准、各阶段验收要求、产出物要求、抽检比例要求、验收检查要点等内容进行整合,编制形成《电网建设工程质量验收标准化工作手册》一书,供从事工程建设施工及质量管理人员现场使用或学习参考。
.png)
图2.2电网建设工程质量问题整改复查流程图
2.2应用二维码技术加强质量责任追溯性和痕迹化
随着信息化水平的不断提升,“二维码”技术得到广泛普及应用,二维码技术可作为可追溯性的信息储存载体应用于电网建设工程施工现场管理[3]。可以将二维码技术直接应用于工程质量验收,不管是施工三级自检还是监理初检和中间验收,每进行一次验收,都可以记录工程名称、施工部位、作业人员、验收人员、验收标准、是否合格等关键信息,形成一个二维码标识,该标识可以一同贴在现场验收牌上,也可以贴在在质量验收台账中。只要通过二维码扫描即可方便全面查看该工程该阶段的验收情况。这样不仅落实了工程建设“质量终身制”,而且实现了可追溯和痕迹化。
二维码技术还可应用现场工器具管理等方面,对工器具名称、编号、生产日期,是否合格等核心信息进行汇集并生成唯一的二维码,贴在工器具上,对应填入工器具管理台账,保存成电子信息,实现工程信息的快速溯源,提升工作效率。
2.3完善整改复查流程,建立复查奖惩机制
针对电网建设工程质量验收检查过程中存在的复查薄弱环节,制定质量问题整改复查流程,将以往只查整改反馈单忽视现场复查明确为必须现场复查。要求施工项目部提交整改回复单后交由监理项目部进行审核复查,并留存数码照片佐证,监理单位确认无误后再交由业主项目部进行审核复查,同样留存数码照片,任何审核复查环节出现问题将整改结果纳入考核,并退回重新整改。流程图详见附件2.2。
结合工程实际,专门编制了《电网建设工程问题整改复查奖惩规定》,根据复查的效果对施工监理单位进行奖惩。奖惩的主要内容包括:对于及时整改完毕的单位,不予考核惩罚,对整改彻底并举一反三对后续工程质量有改进的单位进行奖励;对于未及时整改的单位,纳入考核惩罚;对于整改造假,欺骗业主等行为,从重处罚。
3实施效果
通过上述一系列措施,对验收工作进行科学细化和管理优化,使施工三级自检、监理初检、中间验收等质量验收工作有据可依、有据可查,更加深入,更加方便,有效提升了验收效率及验收效果,大大提高了问题闭环整改率,有效保障了工程实体质量。同时,二维码技术的应用有效加强了质量责任追溯性和痕迹化,健全的整改复查程序能够及时跟踪工程质量和整改落实情况,使质量验收管理规范率大大提升,进一步强化了标准化建设和精益化管理。
通过加强质量验收管理,加强过程控制,能够及时遏制质量隐患萌芽,可以将诸多问题消除在工程建设过程之中,大大节约了优质工程评定检查时返修返工的费用。
4结束语
电网建设工程质量验收标准化工作将验收过程中的各个要素和环节有序化、规范化的组织起来,整合、优化、统一,使质量验收工作更加规范化、科学化、程序化,对创建优质工程和实现工程“零缺陷”投产具有重要意义,对其他行业质量验收工作也具有重要的借鉴价值。
参考资料
[1]孙震.电网建设项目的系统化和信息化管理初探[J].黑龙江科技信息,2012,(34):56
[2]黄都,王明伟.110kV及以下电网建设工程项目规范化验收的思考[J].技术研发,2015,22(12):136-137.
[3]王时立.浅议电力工程的质量管理[J].价值工程,2010,29(32):94-95.
论文作者:万术来
论文发表刊物:《基层建设》2018年第29期
论文发表时间:2018/12/12
标签:电网论文; 工程论文; 质量验收论文; 工作论文; 质量论文; 建设工程论文; 工程质量论文; 《基层建设》2018年第29期论文;
